|
Pulse-Motor (11.2021)
Die Idee zu diesem Motor hatte ich schon im Jahr 2016 und da wollte
ich einen Mendocino-Motor bauen. Der Aufwand für so einen Motor mit
Levitation war mir zu groß, also habe ich bei Opitec einen Solarmotor
gekauft.
Der Rotor dieses Motors war ganz einfach in Spitzen gelagert und hatte
zwei Solarpanel mit dem Nachteil, dass der Motor nur bei vollem Sonnenschein
vernünftig lief. Das hat mir dann doch nicht so gut gefallen und habe
deshalb den Motor in einen Pulsemotor verwandelt.
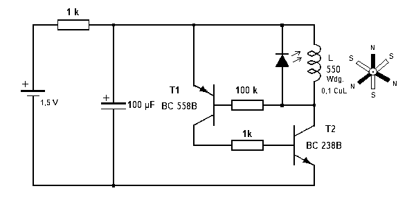
Im Internet habe ich bei CircuitLab einen Plan für
einen Pulsemotor gefunden:
Den habe ich mit 6 Neodym Magneten und Spitzenlager praktisch
umgesetzt:
   
Man nehme eine Kugelschreibermine, eine M6 Sechskantmutter und sechs
Neodymmagnete 14x6 mm und klebe diese auf die Sechskantmutter abwechselnd
N-S-N-S-N-S. Dann länge man eine Sechskantschraube etwa bündig
zur Sechskantmutter ab und bohre in Schraube mittig ein Loch für die
Kugelschreibermine. Bevor das Ganze verklebt wird prüfen, ob der Rotor
einigermaßen ausgewuchtet ist und rund läuft
Den Rotor als Levitation auszuführen wäre auch möglich,
nur müsste dazu das Magnetlager sehr weit vom Rotor entfernt sein,
um magnetische Beeinflussung zu verhindern und damit ist kompakte
Bauweise ausgeschlossen. Dieses Konstrukt dann als Bild an die Wand zu
hängen, wäre eine besondere Herausforderung.
Als Lager für die Kugelschreibermine wird der untere abgetrennte
Teil eines Reagenzglases verwendet und mit Diamantscheibe passend
in das Messingteil geschliffen.. Die Metallstege des Solarmotors müssen
durch nichmagntisches Material ersetzt werden, z.B. Kohlestäbe. Den
Spulenkörper mit den Abmessungen 30 x 20 x12 mm habe ich aus Plexiglas
gefertigt.
Da die eine Spule sowohl Antriebs- als auch Sperrspule ist, läuft
der Motor nicht von allein an, sondern muss auf Drehzahl gebracht werden
und dann passiert folgendes:
Wenn z.B. der N-Magnet in die Spule taucht, erhält der Transistor
T1 durch die Spule einen Impuls und schaltet durch, was
T2 ebenfalls durchschalten lässt. Jetzt baut die stromdurchflossene
Spule L ein N-S Magnetfeld auf, das den N- Magnet abstößt
und den Rotor weiterdrehen lässt. Der nächste S-Magnet
sperrt T1 und T2 und so wiederholt sich das Spielchen.
Siehe hierzu Physik: Spule und bewegter Magnet und
Spule durch die Strom fließt.
Die parallel zur Spule L eingebaute Diode (Leuchtdiode) ist notwendig,
damit die beim Sperren von T2 entstehende Spannungsspitze den Transistor
nicht gefährdet. Ob die Spannugsspitze die Leuchtdiode zum Leuchten
bringt, ist fraglich. Bei meinem Aufbau hat es nicht funktioniert. Vielleicht
andere Leuchtdiode?
Die sehr stabile Impulsfrequenz hängt von der Anzahl der Magnete
und der Induktivität der Spule ab. In meinem Fall sind das rund 7-8
Hz (420-480 U/min). Die rein ohmsche mittlere Stromaufnahme mit einer 1,5
V-Batterie beträgt ca.1 mA, d.h. die Leistung dieses Motor beträgt
gerade mal 1,5 mW. Bei dieser geringen Leistung ist reibungsarmer Aufbau
unbedingt notwendig. Bei einer Batterie mit 2500 mAh beträgt die durchschnittliche
Laufzeit ca. 100 Tage. Die gepulste Stromaufnahme ist jedoch geringer,
so dass die Laufzeit mehr als 100 Tage beträgt.
Ich habe diesen Motor nun fast 5 Jahre im Dauerbetrieb
und wie sieht es mit dem Verschleß aus?
Ich musste mehrmals die Batterie (problemlos) wechseln. Etwas aufwändiger
war das 2-malige Erneuern des Glaslagers und der 1-malige Tausch der Kugelschreiberminenspitze. |