|
Flammenfresser/Vakuummotor (09.2005 und 11.2009)
Die Idee, sich mit Heißluftmotoren auf einer Webseite auseinander
zu setzen reifte bei mir, als ich den Heißluftmotor aus meiner Kindheit
mal wieder rauskramte. Und wie das im Leben so ist, man hütet seine
Jugenderinnerungen wie einen Schatz und will sich nach Jahren das Motörchen
mal wieder anschauen und bekommt feuchte Augen, nicht nur weil Jugenderinnerungen
wach werden, sondern weil der Motor nicht mehr so aussieht wie damals.
Ich war schon kurz davor den Motor wegzuwerfen, doch dann habe ich mich
entschlossen (ich hatte leider zu diesem Zeitpunkt weder Dreh- noch Fräsmaschine)
eine Restauration durchzuführen. Wie auf den Bildern zu sehen, hatte
der Motor aus dem Jahr 1952 die Zeit nicht so überlebt, wie es hätte
sein müssen. Die Gussteile (Zinkdruckguss) des Motors wie Kurbelwellengehäuse
mit Wasserkühlung sowie das Schwungrad waren durch Zinkfraß
("Zinkpest") regelrecht zerbröselt. Nur die Eisenteile wie Zylinder
mit Kolben, Pleuel, sowie das Ein- und Auslassventil und die Kurbelwellenlager
waren in Ordnung. An Ersatzteile zu denken war illusorisch, da die Firma
Honsel KG (Hangelar/Siegkreis) schon sehr früh die Produktion dieses
Motors einstellte.
Damals war dieser Motor neben den sonst üblichen Dampfmaschinen
schon etwas besonderes. Es ist ein Rebi-Heißluftmotor, der in die
Kategorie der Vakuummotoren (auch Flammenfresser genannt) gehört.
Weitere Rebi-Motoren (05.2020)
 
Rebi-Motor von 1952 und Restauration
so eines Motors
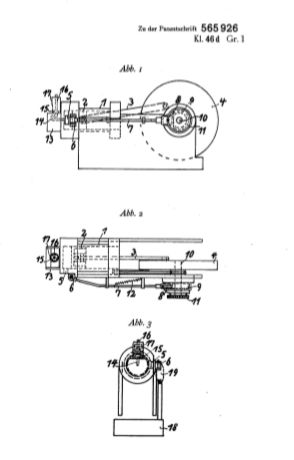
Nachbau Rebi, sowie möglicherweise eine Patentanmeldung dieses Motors
aus dem Jahr 1932
  
Rebi-Motor ohne Kolben aus dem Jahr 1956 und Patentschrift
Das war "mein" Motor als er noch funktionierte

und so ungefähr sah der Motor nach ca. 50
Jahren aus, bevor ich ihn restauriert habe.
Wie zieht man so eine Restauration durch? , indem man aus Messing die
erforderlichen Gussteile "nachempfindet".
Alles wurde in mühevoller Handarbeit ausgesägt , passend
gefeilt und verlötet. Ja, das war richtig Arbeit, aber was soll man
machen, wenn man zu diesem Zeitpunkt noch keine Fräsmaschine hat.
Es lebe die alte Handwerkskunst.
Das Schwungrad habe ich allerdings auf meiner, inzwischen zugelegten,
Drehmaschine
angefertigt. Eine kleine Fräsmaschine
habe ich mir dann auch noch gegönnt.
  
 
Die untere Reihe zeigt den fast Originalmotor (Ausparungen im Schwungrad
gab es nicht)
Der Rebi-Motor ist insofern eine Besonderheit, weil er sich sehr schön
über das Auslassventil (Video)
in der Drehzahl verstellen lässt, indem die Sprunghöhe des Flatterventils
eingestellt wird.
  
Das Typenschild 1950, mein Motor hat das Typenschild von 1952
Der Brenner des Motors
Nachtrag (11.2010):
Nachdem ich den Nachbau des Rebi-Flammenfressers erfolgreich beendet
hatte und ich gemerkt habe, wie gut ein Kolben aus Graphit funktioniert,
habe ich mich entschlossen, das Original ebenfalls auf Graphitkolben
umzurüsten. Der Motor musste mittlerweile mit dem Gusskolben sehr
lange vorgeheizt und angeworfen werden, bis er "ansprang". Ich kann
mich noch erinnern, dass man bei diesem Motor, auch als er neu war,
fast 5 Minuten anheizen und anwerfen musste. Im Nachhinein weiß ich
warum, ich hatte damals kein Petroleum zu Schmieren benutzt!
Mit dem Graphitkolben ist es ein Genuss diesen Motor anzuwerfen. Er
läuft sofort an. Wenn sich Schwitzwasser bildet, bleibt der Motor
zunächst einmal stehen, bis das Schwitzwasser verdampft ist.
Die Leerlaufdrehzahl ist wegen der geringeren Reibung höher
und die Höchstdrehzahl hat sich merklich verbessert.
Der Umstieg auf Graphitkolben war ein voller Erfolg.
Einen Nachteil will aber nicht verschweigen: wenn der Graphitkolben
in einem Eisenzylinder betrieben wird, dann ist die Gefahr groß,
dass das Schwitzwasser den Zylinder anfällig für Rost macht,
denn hier wird ja nichts mehr geschmiert. Daher Motor immer gut vorwärmen
und länger betreiben.
Ein Tipp zum Drehen von Graphit:
Graphit läßt sich sehr gut auf der Drehmaschine
und Fräse bearbeiten. Die Schneidwerkzeuge müssen gut geschliffen
sein. Wenn beim Drehen oder Fräsen von Graphit mit der gleichen Geschwindigkeit
wie beim Drehen von Stahl, Messing und Alu gearbeitet wird, gibt es eine
Riesensauerei.
Ich bearbeite daher dieses Material nur, indem ich
das Werkstück bzw. das Futter von Hand drehe. Die Zustellung wird
nicht zu groß gewählt, max. 5/10 mm, sonst splittert das Graphit.
Bei dieser Vorgehensweise rieselt das Graphit schön langsam herunter
und ich kann es mit einem kleinen Behälter auffangen. Es gibt so gut
wie keine Staubentwicklung. Beim Längsdrehen stelle ich den automatischen
Vorschub ein.
Nachbau des Rebi-Heißluftmotors (11.2009)
Da der Rebi-Motor wegen des Auslassventils ein schönes kerniges
Lanz-Geräusch hat, habe mich entschlossen, diesen Motor in modifizierter
Form nachzubauen.
Als Grundlage wurde der Flammenfresser
von Bachmann herangezogen. Zunächst habe ich Skizzen
vom Original-Rebi-Motor und Teile des Bachmann-Motors angefertigt.
Es ist zu beachten, dass der Motor von Bachmann nicht direkt mit dem
Rebi-Motor verglichen werden kann, denn der Rebi-Motor hat im Gegensatz
zum Bachmann-Motor ein Auslassventil. Daher auch die anders geformte Steuernocke
des Bachmann-Motors.
Die Kurbelwelle habe ich entgegen dem Bauplanvorschlag geteilt, nachdem
sich herausgestellt hatte, dass ohne Justierhilfsmittel kein vernünftiger
Rundlauf der Kurbelwelle zu erreichen ist, wenn sie, wie vorgesehen, zu
einer Einheit hart zusammengelötet wird.
   
Beide Kurbelwangen müssen nun jeweils in zwei Kugellagern geführt
werden. In eine Kurbelwange wird ein Schlitz gefräst, in den der Stift
der anderen Kurbelwange eingreift. Die Nockenscheibe ist ähnlich geformt
wie beim Rebi-Motor und der Zylinder erhält einen Zylinderkopf mit
Einlassschieber und Auslassventil (Flatterventil). Der Arbeitskolben wurde
aus Graphit hergestellt. Auf dem linken Bild sind die Einzelteile aufgeführt,
die rechten Bilder zeigen den fertigen Motor. Die Nockenscheibe ist aus
Messing, das kugelgelagerte Andrückrad, der Einlassschieber, das Auslassventil
und die Einlassschieberstange sind aus Eisen.
Sehr elegant wurde beim Originalmotor das Zurückholen und Anpressen
des Einlassschiebers mit nur einer Feder an der Einlassschieberstange gelöst..
Das habe ich natürlich auch beim Nachbau übernommen, ist auf
dem Bild nur verdeckt zu erkennen.
Die Nocke habe ich übrigens
ganz einfach hergestellt:
erst mal der Drehmaschine auf 21 mm rundgedreht, dann mit einer
Schablone einen großen Halbkreis so angerissen, dass sich später
ein Hub von ca. 6 mm ergibt, dann auf der Schleifmaschine den Halbkreis
grob vorgeschliffen und mit einer Feile den Rest sauber hingefeilt.
Ist zwar ein bisschen Arbeit, aber das Resultat ist einwandfrei,
wenn man feilen kann (Detailfoto
der Nocke).
Die Steuerzeiten des Originalmotors sind bei Drehung im Uhrzeigersinn
ungefähr:
Einlassventil beginnt zu schließen bei ca. 80°-
90° und ist bei ca. 120° geschlossen. Einlassventil beginnt
zu öffnen bei ca. 350°-360°
Die Steuerzeiten werden optimal mit Verdrehen und Fixieren der Nocke
festgelegt. Ich habe die Nocke so eingestellt, dass in Ruhestellung (Nocke
steht senkrecht) der Kolben ca. 70° steht. Siehe hierzu auch die Bilder.
Der Motor "läuft" selbst mit dem kleinen Schwungrad ( 70 mm Ø
und ca. 200 g schwer) phantastisch.
Eine Eigenart hat der Flammenfresser wenn er kalt ist. Er "springt"
zwar beim Anlegen der Flamme sofort an, bleibt dann aber, je nachdem wie
stark sich Schwitzwasser bildet, stehen. Das macht sich beim Graphitkolben
gegenüber einem Gusskolben stärker bemerkbar, weil hier die Reibung
zu groß wird. Auch scheint der Messingzylinder die Schwitzwasserbildung
zu begünstigen.
Ist der Motor jedoch insgesamt angewärmt, dann steht einem tadellosen
Lauf nichts mehr im Wege.
Habe inzwischen das große Schwungrad ( 90 mm Ø und ca.
320 g schwer) ausprobiert und der Motor funktioniert hiermit genauso
gut, d.h. er erreicht auch die Höchstdrehzahl wie mit dem kleinen
Schwungrad, der Langsamlauf ist mit großen Schwungrad allerdings
etwas besser, trotzdem habe ich das große Schwungrad auf 280
g abgespeckt, damit die Drehzahländerung nicht ganz so träge
erfolgt.
Ein Flammenschutz wie beim Originalmotor hat sich nicht bewährt,
da die Flamme in ihrem Brennverhalten gestört und dann bei hohen Drehzahlen
ausgeblasen wird, bzw. die hohen Drehzahlen auch nicht mehr erreicht werden.
Das
Bild zeigt, dass dieser Motor seinem Namen "Flammenfresser" wahrlich gerecht
wird. Auf dem Bild ist bei genauem Betrachten zu erkennen, dass der Docht
des Brenners aus Messinggaze ist. Das ist neben einem Glasfaserdocht auch
eine gute Möglichkeit einen lebenslangen Docht zu erhalten. Die Gaze
gibt es bei http://www.hytta.de
Änderungen:
- habe das Einlassventil aus Graphit gemacht. Es hat
sich herausgestellt, dass am Einlassventil - obwohl hochglanzpoliert -
kleinste Messingpartikel haften bleiben und dadurch auf dem polierten Zylinderkopf
leichte Riefen entstehen. Beim Originalmotor ist der Zylinderkopf aus Gusseisen
und das Ventil aus Messing und bei dieser Kombination habe ich keine Probleme
feststellen können. Beim Auslassventil treten diese Probleme nicht
auf, weil hier nur eine vertikale Bewegung erfolgt. Das Graphit-Einlassventil
hat sich inzwischen bewährt und hat den großen Vorteil, dass
die bewegliche Masse reduziert ist und obendrein ist die Reibung dieses
Ventils auf Messing geringer. Das alles kommt der Drehzahl
zugute. Ich erreiche jetzt mehr als 1200 U/Min. Einen Flammenfresser mit
diesem Drehzahlbereich (400- knapp 1300 U/Min) habe ich bisher noch
nicht gesehen!
- eine weitere Änderung betrifft die Geräuschbildung. Gewollt
ist das "Auspuffgeräusch" des Auslassventils. Es treten aber an dem
Nocken-/Andrückrad und am Einlassventilschieber metallische
Geräusche auf, die nicht gewünscht sind. Des weiteren gibt es
am Andrückrad nicht nur horizontale, sondern auch vertikale Kräfte.
Diese vertikalen Kräfte reiben die Hülse in der der Ventileinlassschieber
nur punktuell geführt wird immer mehr auf, so dass hier zuviel Spiel
und damit Klappergeräusche entstehen. Ich habe hier den Ventileinlassschieber
in Teflon geführt.
Mal sehen, ob sich das bewährt.
Das Andrückrad habe ich nun aus Delrin angefertigt.
Es gibt jetzt praktisch außer dem Auslassventil keine metallischen
Klappergeräusche mehr.
Für mich ist dieser Motor in dieser Bauart das absolute Non-Plus-Ultra!
Es war und ist auch eine große Herausforderung diesen Motor
so hinzubekommen.
Eine Besonderheit dieser Bauart ist die Drehzahlverstellung über
einen Gashebel. Im Video
kann man sehr schön die Gashebelfunktion erkennen. Eine Schnellverstellung
ist auch mit dem Finger auf dem Auslassventil zu erreichen. Da werden Jugenderinnerungen
wach, als man an seinem Moped mit dem Gasgriff gespielt hat und auch der
Sound erinnert etwas an die legendäre Horex.
Der Motor ist vorgeheizt, um Schwitzwasserbildung zu vermeiden. Nur
so die hervorragende Drehzahländerung von ca. 400 U/Min auf ca. 1300
U/Min über den Gashebel zu erreichen.
Der Motor "rennt" mit einer Füllung ca. 1 Std. und ich habe ihn
auch mal eine Stunde bei kleinster Drehzahl durchlaufen lassen. Die Drehzahl
bleibt dabei sehr gut konstant, wenn die Flamme nicht gestört wird.
Der Zylinder erreicht aussen ungefähr 60-70 Grad Celsius, die Bodenplatte
wird nur handwarm.
Ein interessantes Verhalten dieses Motors konnte ich bei einer bestimmten
Drehzahl (ca. 500U/min) feststellen. Das Auslassventil öffnet nicht
mehr bei jedem Kolbenhub zum OT, sondern nur noch bei jedem 2. Hub. Und
bei dieser Drehzahl kann sogar das Auslassventil zugehalten werden und
der Motor läuft mit der gleichen Drehzahl weiter. Hier tritt anscheinend
eine Art Resonanzeffekt auf. Dieses Phänomen gibt es wohl nur, wenn
der Kolben fast ohne Reibung im Zylinder läuft. Dieser Effekt ist
allerdings nicht immer reproduzierbar. Ein Video hierzu habe ich hier.
Rebi-Nachbau der Zweite
Nachdem ich den Rebi-Motor auf Graphitkolben umgestellt hatte, war noch
der schöne Gußkolben übrig. Den konnte ich nicht mehr im
alten Rebi-Motor einsetzen, da ich den Zylinder etwas aufgerieben hatte,
um die vorhandenen Riefen zu entfernen. Somit hatte der Kolben jetzt zuviel
Spiel. Also was machen mit dem Kolben?, na klar, einen weiteren Rebi-Nachbau
herstellen. Hier sind schon einmal die ersten Brocken zu sehen. Der Kolben
hat Ø 29 mm und wird einen Hub von 40 mm bekommen und läuft
in einem Eisenzylinder. Den Zylinder habe ich passend für den Kolben
zeitaufwendig aufgerieben und eingeschliffen, mit dem Ergebnis einer hervorragenden
Kompression. Ein gutes Ergebnis ist daran zu erkennen, dass der Kolben
bei offenem Zylinder locker durchfällt, aber bei geschlossenen Zylinder
nur unmerklich absackt oder beim Reindrücken wieder auf die Ausgangsstellung
zurückfedert.
  
   
Obige Bilder zeigen die Entstehung des Motors mit Detailfotos
Die Kurbelwelle habe ich dieses Mal nicht getrennt, sondern in einem
Stück gefertig mit einem Kugellager für das Pleuel. Hartlöten
ist in diesem Fall wegen zu großer Hitzeentwicklung nicht gut, besser
ist weichlöten. Ich habe weder das Eine noch das Andere gemacht, sondern
mit Loctite 648 "Fügen Welle Nabe" fixiert. Das funktioniert gut,
wenn die Wellen passgenau in die Kurbelwangen gehen. Die Kurbellagerböcke
sind ca. 1mm tief ind die Grundplatte eingelassen, somit sind sie später
sauber parallel ausgerichtet. Die Kugellagersitze sind soweit aufgerieben,
dass die Kugellager durchfallen, so können sie noch etwas in ihrer
Lage korrigiert werden. Das ist wichtig, damit die Kurbelwelle nicht klemmt.
Ein Hauch von Ungenauigkeit und die Kurbelwelle geht schwergängig.
Dieser Rebi-Nachbau soll in der Drehzahl gemächlicher werden.
Es wird ein Schwungrad mit ca. 100 mm Ø und ca. 400g schwer zum
Einsatz kommen.
So, langsam nimmt der 2. Rebi-Nachbau Gestalt an. Jetzt fehlt nur die
Nocke und der Einlassschieber. Die Flächen für das Ausslass-
und Einlassventil müssen nach dem Fräsen geschabt werden, damit
sie schön plan und glatt sind. Das geht sehr gut mit einem Vierkantdrehstahl.
Diese Stähle sind so gut geschliffen, dass sie als Schaber verwendet
werden können. Das Einlassventil ist nicht wie auf dem Bild zu sehen
aus Eisen, sondern aus Graphit.
Es ist vollbracht, der zweite Rebi-Nachbau ist bis auf die Grundplatte
fertig. Auch dieser Motor funktioniert, aber aufgrund der größeren
Reibung des Gußkolbens ist er bei weitem nicht so drehfreudig wie
der Rebi mit Graphitkolben und springt auch schlechter an.
Ganz so gemächlich ist der Motor nun doch nicht geworden. Dazu
müßte das Schwungrad viel größer und schwerer werden.
Hochinteressant ist das Verhalten des Motors beim Verändern
der Steuerzeiten:
Wird die Nocke so eingestellt, dass das Einlassventil bei etwas
mehr als 360° gerade wieder öffnet, um warme Luft einzusaugen,
dann ist die Drehzahl stark reduziert und der Motor läßt sich
nicht mehr in der Drehzahl regulieren. Erst wenn die Nocke so verdreht
wird, dass das Einlassventil etwas früher bei ca. 350° öffnet,
also wenn der Kolben noch nicht den OT errreicht hat, dann bringt der Motor
Drehzahl und mehr Leistung und muss auch mit höherer Drehzahl angeworfen
werden. Man hat das Gefühl, es ist wie beim Einstellen von Ottomotoren
auf Frühzündung. Da gibt es auch ohne Verstellung auf Frühzündung
keine Leistung.
Ich habe dies mal versuchweise (Video)
durchgeführt, um zu zeigen, wie langsam dieser Motor noch drehen kann.
Für diese Motorgröße schon erstaunlich.
Habe die Nocke aber wie beim Original-Motor eingestellt, d.h. die Drehzahl
geht von ca. 200 U/min bis auf 1000 U/min.
Ein Problem von Vakuummotoren ist die Schmierung. Die Produktionsreihe
von Rebi-Motoren ohne Wasserkühlung hatten eine Öffnung zum Schmieren
mit Petroleum, was auch in der Betriebsanleitung so stand. Die Baureihe
mit Wasserkühlung hatte diesen Schmiernippel nicht mehr. Ich nehme
an, dass die damaligen Konstrukteure gemerkt haben, das der Gußkolben
nicht unbedingt geschmiert werden müsse. Ich habe das jetzt bei 2.
Nachbau auch nicht gemacht und siehe der Motor läuft auch ohne Schmierung
gut. Ein Kriterium muss der Motor erfüllen: ->der Motor muss
beim Anwerfen ohne Flamme bei angehobenem Auslassventil wenigstens 5-10
Umdrehungen machen, ansonsten wird er nicht vernünftig laufen. Ich
betreibe den Motor ohne Schmierung mit Unterstützung von etwas
Graphitpulver. Dazu habe ich den Kolben und Zylinder zuvor mit Benzin gereinigt.
Für den Nachbauer von Flammenfressern empfehle ich wegen der geringeren
Reibung Graphitkolben einzusetzen. Die Leistung von Flammenfressern ist
nicht so toll , wie ich jetzt wieder beim 2. Rebi-Nachbau feststellen konnte.
Industriell waren in der Frühzeit (ca. 1900) Vakuummotoren im
Gegensatz zu Stirlingmotoren nie eingesetzt.
Ich habe auch diesen Motor auf Graphitkolben umgestellt und im Gegensatz
zum ersten Nachbau mit Graphitkolben macht dieser Motor bislang keine Probleme
beim Kaltstart.
Ich nehme an, dass der Messingzylinder empfindlicher gegenüber
Schwitzwasser ist, dafür rostet er nicht. Das stärkere Lanzgeräusch
führe ich auf den größeren Kolben, 30 mm Ø
statt 25 mm Ø zurück
Einziges Problem bei der Schwitzwasserbildung ist die Rostgefahr
bei der Kombination Grapitkolben/Eisenzylinder.
Eines möchte ich noch klarstellen: ein kleiner Vakuummotor mit
Metallkolben
"springt" ohne Vorheizen und viel Anwerfen nicht so leicht an, wie es immer
wieder in Videos gezeigt wird. Das mag vielleicht für die großen
Typen gelten, bei denen das Schwungrad einiges ausgleicht.
Der Rebi-Nachbau Nr. 2 ist für mich der krönende Abschluß
meiner "Flammenfresser-Karriere", denn dieser Motor hat nun 2 Verstellmöglichen
der Geschwindigkeit, nämlich einmal über das Verschieben der
Flamme in Richtung Einlassschieber und zum anderen über den Gashebel.
So kann die Geschwindigkeit doppelt von langsam
bis schnell geändert werden. |